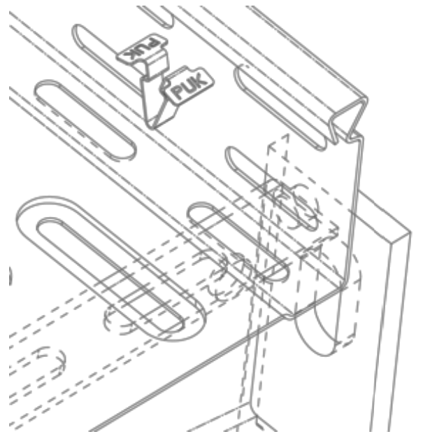
Zapinka montażowa.
Zapinka montażowa stosowana zamiennie z śrubami i nakrętkami przeznaczona do montażu łączników oraz tras kablowych do półek.
Zapinka montażowa.
Zapinka montażowa stosowana zamiennie z śrubami i nakrętkami przeznaczona do montażu łączników oraz tras kablowych do półek.
| Name | H[mm] | B[mm] | L[mm] | G[kg] | |
|---|---|---|---|---|---|
| KLF E |
6
|
12
|
18,5
|
0,0014
|